专题:万达集团及王健林被限制高消费中金优配
来源 | 深蓝财经综合
王健林,被限制高消费了!
据天眼查中金优配,大连万达集团股份有限公司及其法定代表人王健林等被限制高消费。相关案件执行标的为1.86亿元,执行法院为甘肃省兰州市中级人民法院。
针对王健林被限制高消费的消息,有接近万达方面的知情人士对媒体表示,此次是由于万达下属项目公司经济纠纷导致,事实上之前双方一直在通过多种方式协商解决,万达集团也正在了解具体情况,本次或因在执行层面信息不对称导致。
此前9月11日,据中国执行信息公开网显示,大连万达集团股份有限公司新增一则被执行人信息,执行标的4亿余元,执行法院为北京金融法院。
天眼查数据显示,今年以来,大连万达集团股份有限公司新增多则被执行人信息。今年1月,大连万达集团股份有限公司新增执行标的2.62亿元,执行法院为河南省郑州市中级人民法院。今年4月,大连万达集团股份有限公司新增三则被执行人信息中金优配,合计执行标的为11.49亿元,执行法院分别为甘肃矿区人民法院、北京市海淀区人民法院。风险信息显示,该公司现存11条被执行人信息,被执行总金额超52亿元。
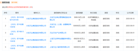
此外,大连万达集团股份有限公司在其他企业持有的股权被冻结,相关股权冻结案件达40余则。9月1日,大连万达集团股份有限公司新增4则股权冻结信息,股权所在企业分别为大连万达(上海)金融集团有限公司、万达文化产业有限公司、上海万达网络金融服务有限公司、上海万达小额贷款有限公司,冻结股权数额合计超145亿元,执行法院均为北京金融法院。
除了上述情况外,近年来,万达一直出售资产缓解现金压力。
据不完全统计,2023年至2024年间,王健林陆续出售了超30座万达广场。今年以来,万达陆续有7座万达广场被零散出售。5月21日,国家市场监督管理总局批准了由太盟、高和丰德、腾讯、京东潘达、阳光人寿等机构组成的联合体对大连万达商管旗下48家目标公司的收购案,涉及全国39个城市的48座万达广场。
今年4月17日,万达酒店发展发布公告称,拟将全资持有的万达酒店管理(香港)有限公司100%股权,以24.9亿元的价格出售给同程旅行。7月份,又准备以2.4亿元的价格将快钱金融30%股权卖给中国儒意。
值得一提的是,自从大连万达集团陷入资金紧张危机之后,王健林也鲜少在公众面前现身。
但一个月前,王健林突然现身克拉玛依,考察招商引资、文旅发展等工作,探讨和当地合作的可能性。从流传出的照片及视频看中金优配,王健林身形消瘦了不少,显然还是在为资金紧张苦恼。
海量资讯、精准解读,尽在新浪财经APP
联丰优配提示:文章来自网络,不代表本站观点。